双可调煤粉分配器通过调整导流板角度,使煤粉和空气在分配器出口分配均匀,煤粉和空气偏差均在5%范围内,阻力不大于500pa。分配器可立式或水平布置,适用于煤粉管道全入口角度,控制灵活,调节连续、平稳、精度高。分配器内衬碳化硅陶瓷,调整挡板由碳化硅陶瓷整体烧制,可在10万小时内稳定运行,不发生磨损泄漏。

双可调煤粉分配器结构
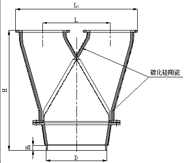
固定式煤粉分配器采用碳化硅陶瓷作防磨内衬,碳化硅陶瓷整体烧结成筒节衬套于分配器内部。通过安装在入口处的分配体对煤粉进行分配,分配体把入口截面等间距分隔,并通过左右交替的通道把风和煤粉平均分配到两个出口。分配体通道冲击磨损严重的部分,镶装U型燕尾氧化铝陶瓷,保证分配体不被磨漏而失去分配功能。

固定式煤粉分配器结构
注:煤粉分配器表示方法
